Rulouri exterioare aplicate
OUTBOX
Rulourile exterioare pentru ferestre MCA OUTBOX reprezintă soluția ideală pentru instalarea sistemelor de umbrire pe tâmplăria existentă. Designul celor două variante de casete se armonizează perfect cu restul detaliilor fațadei pe care sunt montate.
Beneficii
- Răcoare “naturală”, împiedică încălzirea excesivă a locuinței în zilele toride de vară
- Umbră: flexibilitate in dozarea luminii naturale; permite un somn odihnitor pe timpul zilei
- Siguranță și protecție împotriva oaspeților nepoftiți. Sistemele electrice pot fi programate să se redice și coboare la un anumit interval de timp, pentru a simula prezența în casă.
- Intimitate: protejează de privirile indiscrete, mai ales când ferestrele sunt orientate către stradă sau spre o locuință vecină
- Izolare fonică superioară
- Protejează tâmplăria de ploaie, vânt viscol sau grindină
- Previne decolorarea și degradarea mobilierului și a decorațiunilor interioare
- Se pot acționa manual sau prin intermediul unei telecomenzi
- Se pot realiza într-o varietate coloristică largă pentru armonizarea cu fațada imobilului
- Permit integrarea unei plase contra insectelor
- Previne pierderile de căldură pe timpul iernii
- Consum de energie termică cu 10% mai mică pe timpul iernii
Prezentare funcționare
-
Rulou pentru ferestră aplicat - OUTBOX cu plasă de insecte integrată, casetă maro 45 °, acționare prin panglică
-
Rulou pentru ferestră aplicat - OUTBOX cu plasă de insecte integrată, dublu, casetă maro 45 °, acționare prin manivelă și panglică
-
Rulou pentru ferestră aplicat - OUTBOX cu plasă de insecte integrată, cu casetă maro 45 ° actionare electrică prin telecomandă
-
Rulou pentru ferestră aplicat - OUTBOX cu plasă de insecte integrată, cu casetă semirotundă, acționare prin șnur
-
Rulou pentru ferestră aplicat - OUTBOX cu plasă de insecte integrată, dublu, cu casetă semirotundă, actionare electrică prin telecomandă și intrerupător
-
Rulou pentru ferestră aplicat - OUTBOX, cu casetă semirotundă cu arc și yală
Acționări și accesorii
Culori lamele 37mm
Culori lamele 55mm
Date tehnice Rulouri exterioare MCA
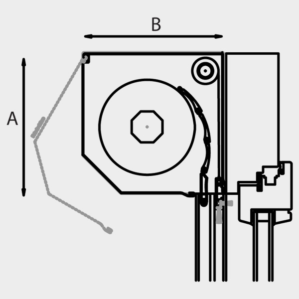
Rulou pentru fereastră aplicat - OUTBOX la 45°
| Lamelă | Dimensiune casetă | Dimensiune ghidaj | Lăţime maximă |
Înălţime maximă | Suprafaţa maximă | ||||
|---|---|---|---|---|---|---|---|---|---|
| 37mm | A | B | C | D | 2600mm | Panglică | Manivelă/Arc/Electric | Panglică/Snur | Manivelă/Arc/Electric |
| 138mm | 138mm | 22mm | 53mm - simplu 85mm - “H” |
1670mm | 1500mm | 2.5mp | 5mp | ||
| 150mm | 150mm | 2150mm | 2010mm | ||||||
| 165mm | 165mm | 2800mm | 2500mm | ||||||
| 180mm | 180mm | 3180mm | 2880mm | ||||||
| 205mm | 205mm | 3900mm | 3500mm | ||||||
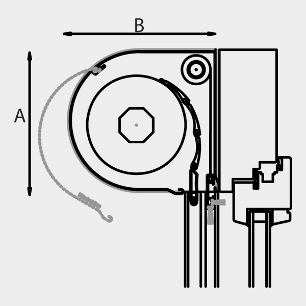
Rulou pentru fereastră aplicat - OUTBOX la 45° cu plasă de insecte integrată
| Lamelă | Dimensiune casetă | Dimensiune ghidaj | Lăţime maximă |
Înălţime maximă | Suprafaţa maximă | ||||
|---|---|---|---|---|---|---|---|---|---|
| 37mm | A | B | C | D | 2600mm | Panglică | Manivelă/Arc/Electric | Panglică/Snur | Manivelă/Arc/Electric |
| 138mm | 138mm | 39mm | 53mm | 1100mm | 801mm | 2.5mp | 5mp | ||
| 150mm | 150mm | 1530mm | 1330mm | ||||||
| 165mm | 165mm | 2170mm | 1730mm | ||||||
| 180mm | 180mm | 2500mm | 2500mm | ||||||
| 205mm | 205mm | 2500mm | 2500mm | ||||||
Rulou pentru fereastră aplicat - OUTBOX cu casetă semirotundă
| Lamelă | Dimensiune casetă | Dimensiune ghidaj | Lăţime maximă |
Înălţime maximă | Suprafaţa maximă | ||||
|---|---|---|---|---|---|---|---|---|---|
| 37mm | A | B | C | D | 2600mm | Panglică | Manivelă/Arc/Electric | Panglică/Snur | Manivelă/Arc/Electric |
| 138mm | 138mm | 22mm | 53 mm -simplu 85 mm - “H” |
1670mm | 1500mm | 2.5mp | 5mp | ||
| 165mm | 165mm | 2700mm | 2450mm | ||||||
| 180mm | 180mm | 3270mm | 3050mm | ||||||
Rulou pentru fereastră aplicat - OUTBOX cu casetă semirotundă și plasă de insecte integrată
| Lamelă | Dimensiune casetă | Dimensiune ghidaj | Lăţime maximă |
Înălţime maximă | Suprafaţa maximă | ||||
|---|---|---|---|---|---|---|---|---|---|
| 37mm | A | B | C | D | 2600mm | Panglică | Manivelă/Arc/Electric | Panglică/Snur | Manivelă/Arc/Electric |
| 138mm | 138mm | 39mm | 53mm | 1100mm | 800mm | 2.5mp | 5mp | ||
| 165mm | 138mm | 2430mm | 2060mm | ||||||
| 180mm | 180mm | 250mm | 2060mm | ||||||
Rulou pentru fereastră aplicat - OUTBOX la 45°
| Lamelă | Dimensiune casetă | Fără plasă de insecte electric (buton sau telecomandă) |
||
|---|---|---|---|---|
| 55mm | A | B | Înălţime maximă | Suprafaţa maximă |
| 205mm | 205mm | 1920mm | 7mp | |
| 250mm | 250mm | 3380mm | 8mp | |
| 300mm | 300mm | 4300mm | 8mp | |







































